hood latch diagram

It has a hood formed by the labia minora inner lips. 98 of products ordered ship from stock and deliver same or next day.


Ford F 150 F 250 How To Replace A Locking Hood Release Cable Ford Trucks

Console Door Latch Hook.

. What is The List of Auto Parts. Introduced around 18001820 Norfolk latches originating in the English county of the same name differ from the older Suffolk latch which lacked a back. It consists of the glans the body which is composed of two erectile structures known as the corpora cavernosa and two crura legs.

Placing a latch on the fridge to ensure that the door is not accidentally left ajar. 53-54 55 6-cyl Color Wiring Diagram 18 x 24 Price. C5 Shop.

Position the hood above your cooktop. How to open hood with broken latch I have a 2002 BMW 525i the hood latch is broken I assume when I pull the lever - BMW 2002 5 Series question SOURCE. Learn the top 5 common issues with the 1998 to 2010 VW Beetle with 1A Autos expert mechanics 1A Auto Team.

134 product ratings - Igloo Replacement Cooler Latch. Find many great new used options and get the best deals for Vintage IGLOO cooler replacement latch and catch post includes screws Legend at the best online prices at eBay. To determine the best range hood brands ranking the Forbes Home Improvement editorial team analyzed third-party data on 18 companies.

Trip the latch with a screwdriver or long piece of metal. McMaster-Carr is the complete source for your plant with over 700000 products. C6 Shop.

EBay Motors makes it easy to find parts for cars trucks SUVs motorcycles more. Engage the hood release from the inside of your vehicle. Planning for and responding to storage temperatures outside the recommended range.

Door lock actuator power window switch window regulator door jamb switch and seat switch and so on are all vulnerable electrical parts in Honda OdysseyOther parts such as wiper blade for better driving visibility and cabin air filter for more comfortable driving environment should get maintained at least once a yearhonda wiring diagram hr electrical crv. Shop for your next vehicle or start selling in a. It also has vestibular or clitoral bulbsThe frenulum of clitoris is a frenulum on the undersurface of the glans and is created by the two.

IDM Members meetings for 2022 will be held from 12h45 to 14h30A zoom link or venue to be sent out before the time. A hidden latch is typically used to hold the hood in place.

Each companys star rating is. 8 W S p o R n s o r e d A 0 B J. Maintaining storage and handling equipment and records.

Reach toward the latch with a metal tool that is long. Broken Release Lever Located underneath the steering wheel on the left interior wall or next to the drivers seat the hood release lever pulls on the cable connected to the hood latch. Free shipping for many products.

Stainless Steel 20018 NEWC 1727. The Portland Aerial Tram or OHSU Tram is an aerial tramway in Portland Oregon that connects the citys South Waterfront district and the main Oregon Health Science University OHSU campus located in the Marquam Hill neighborhoodIt is one of only two commuter aerial tramways in the United States the other being New York Citys Roosevelt Island Tramway. Official City of Calgary local government Twitter account.

1 30A Driver side front window 2 15A SYNC 3 30A Passenger side front window 4 10A Interior lamps 5 20A Memory module 6 5A Not used spare 7 75A Power mirror switch Memory seat module 8 10A Not used spare 9 10A Radio display GPS module Navigation display 10 10A Runaccessory. According to the ZLine manual the hood should be placed 30 to 36 inches above the surface of the rangeAny higher and it wont be effective. 2011 Ford F150 Fuse Diagram for Passenger Compartment Fuse Box.

Hood Latch Receiver Lower On Apron 1949-67 Beetle 111-823-509B is bolted to the front apron. Hood latch problem on 2003 saturn vue cable is a little wornbut what you. The fuse box typically is underneath the hood or the dashboard.

Hood Latch Receiver Lower On Apron 1949-67 Beetle 111-823-509B is bolted to the. 53-54 55 6-cyl Color Wiring Diagram 11 x 17 Price. Stimulus payments 2022.

The hood cable releases the catch. Discussion Starter 1 Jul 17 2012. Keep up with City news services programs events and more.

In reality its an engineering diagram for a unibody car where a unibody is the chassis frame and body of the car all in one distinct part. 365 day return policy. Any lower could result in.

For instance you could use a metal hook or bend a metal coat hanger to latch onto the. Rotating vaccine stock so that vaccine closer to its expiration date will be used first. Maytag Dryer Parts - Shop online or call 844-200-5438.

In automotive engineering. If you dont see a fuse box diagram inside your vehicle check for one in the owners manual. The hood latch will disconnect and allow you to open the car.

Open 7 days a week. It has a tapered receiver and lock to retain the Upper Hood Latch that is bolted to the front hood. The clitoris contains external and internal components.

30 Basic parts of a car. In a Norfolk latch the handle is fitted to a backplate independently of the thumb piece. Check inside the glove box on the passengers side if you dont see it anywhere else.

Jul 08 2022 Its common for owners to have a Volkswagen Beetle with problems like a stuck hood latch or window. Hood Deck Trunk Lift Struts.

We even offer a massive selection of new pre-owned classics hot rods exotics vans ATVs RVs boats and more at eBay Motors. A Norfolk latch is a type of latch incorporating a simple thumb-actuated lever and commonly used to hold wooden gates and doors closed. Im new to the New Beetle world but have been a mechanical tinkerer for ever.


55275849aa Genuine Mopar Cable Hood Latch


Bob Exploded View Or Pic Of Hood Latch Ford Truck Enthusiasts Forums


Gmc Savana Chevy Express Buick Rainier Bravada Trailblazer Hood Latch 15876373 Factory Oem Parts


Nissan Hood Latch Recall Coggin Nissan On Atlantic


5065522ad Genuine Mopar Hood Release Latch


Easy Ways To Open A Hood With A Broken Latch 8 Steps


55026854 Genuine Mopar Parts


Dorman 820 201 Hood Latch Assembly Amazon De Automotive


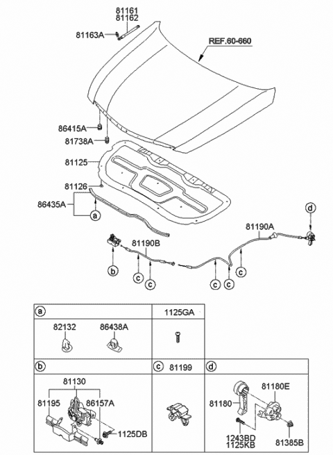
81130 3s000 Genuine Hyundai Latch Assembly Hood


Hood Latch Wont Open Interior Problem 4 Cyl Two Wheel Drive


X5m Stuck Hood Passenger Side Latch Xbimmers Com Bmw X6 Forum X5 Forum


Oem 370z Hood Release Cable Z1 Motorsports Performance Oem And Aftermarket Engineered Parts Global Leader In 300zx 350z 370z G35 G37 Q50 Q60


Body Front Bonnet Hood Latch Catch Panel 356b T6 Prs 356 Porsche 356 Parts And Services


Vw Passat Hood Release Mechanism Hood Vw Passat Release


Mazda Cx 5 Service Repair Manual Hood Latch And Release Lever Removal Installation Doors Lids Hood Trunk


06 08 2008 Hood Release Issue Subaru Forester Owners Forum


1958 59 Hood Latch Diagram View Chicago Corvette Supply

Iklan Atas Artikel

Iklan Tengah Artikel 1

Iklan Tengah Artikel 2

Iklan Bawah Artikel